Архитектор PlayStation предлагает укорачивать лучи, чтобы повысить общую производительность при включенной трассировке лучей
Консоль нового поколения PlayStation 5 предлагает поддержку трассировки лучей. Судя по всему, ведётся работа над улучшением работы технологии на устройстве.
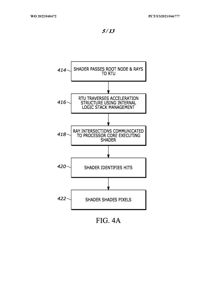
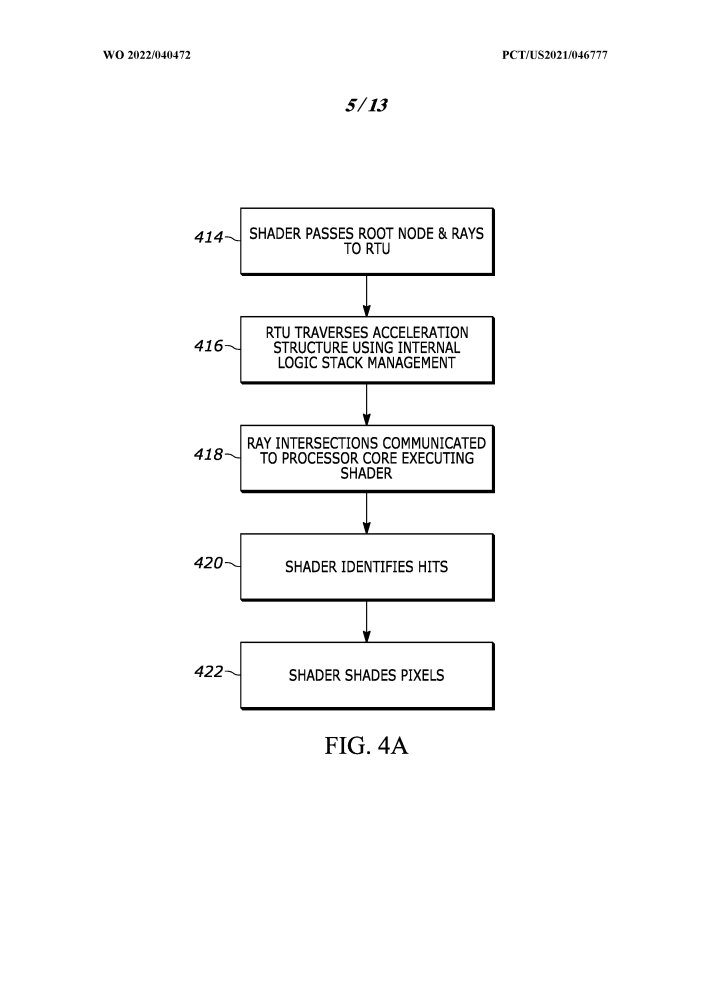
Стало известно, что архитектор PlayStation Марк Церни (Mark Cerny) подал заявку на патент технологии, которая может позволить ускорить трассировку лучей. Упоминается «Система и метод ускоренной трассировки лучей с асинхронной работой и преобразованием лучей».
В патенте описывают систему, использующую шейдерные процессоры для укорачивания лучей. Предполагается, что это повышает общую производительность при включенной трассировке лучей, поскольку программа выполняет только проверку на попадание (столкновение с объектом) луча.
Конкретно о приросте производительности не сообщили, лишь назвали его «значительным».
Стоит отметить, что получение патента не гарантирует внедрение технологии.

