На сайте PlayStation LifeStyle опубликовали информацию о том, что Sony Computer Entertainment запатентовала устройство, похожее на усовершенствованную версию контроллера движений Kinect.
На сайте PlayStation LifeStyle опубликовали информацию о том, что Sony Computer Entertainment запатентовала устройство, похожее на усовершенствованную версию контроллера движений Kinect.
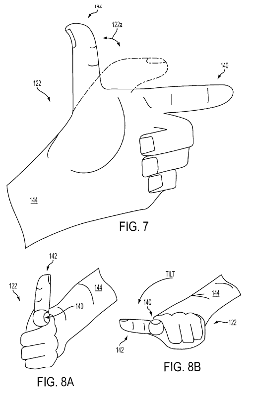
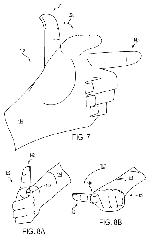
Как видно на иллюстрациях, технология позволяет считывать движения пальцев игрока: «Например, пользователь может стрелять и перезаряжать оружие, используя разные жесты. Кроме того, разное положение и ориентация рук будут оказывать влияние на прорисовку рук персонажа и оружия на экране».
Напомним, Kinect не может считывать движения пальцев игроков, однако, по слухам, на это будет способен Kinect 2.0, который готовится к выпуску для новой консоли семейста Xbox. Также в патенте говорится о том, что новая сенсорная 3D-камера от Sony будет определять координату глубины, используя звуковые волны.
Одним из преимуществ подобного способа, по сравнению с традиционным определением положения игрока с использованием инфракрасного датчика, является то, что теоретически система сможет видеть источник даже за препятствием, благодаря рефракции звуковых волн.
