Иногда лучше просто потратить чуть больше денег.
Иногда лучше просто потратить чуть больше денег.
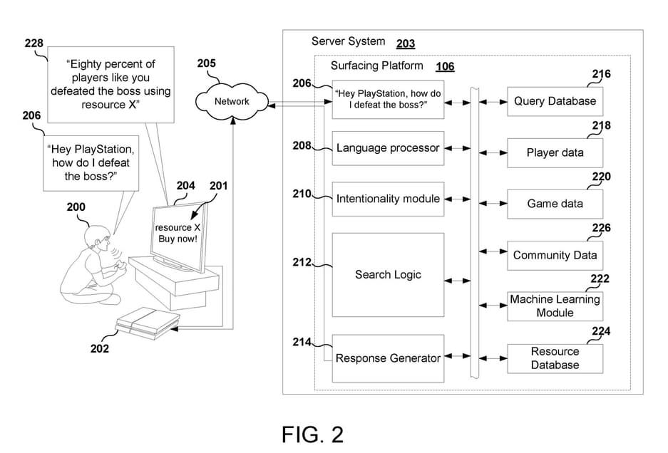
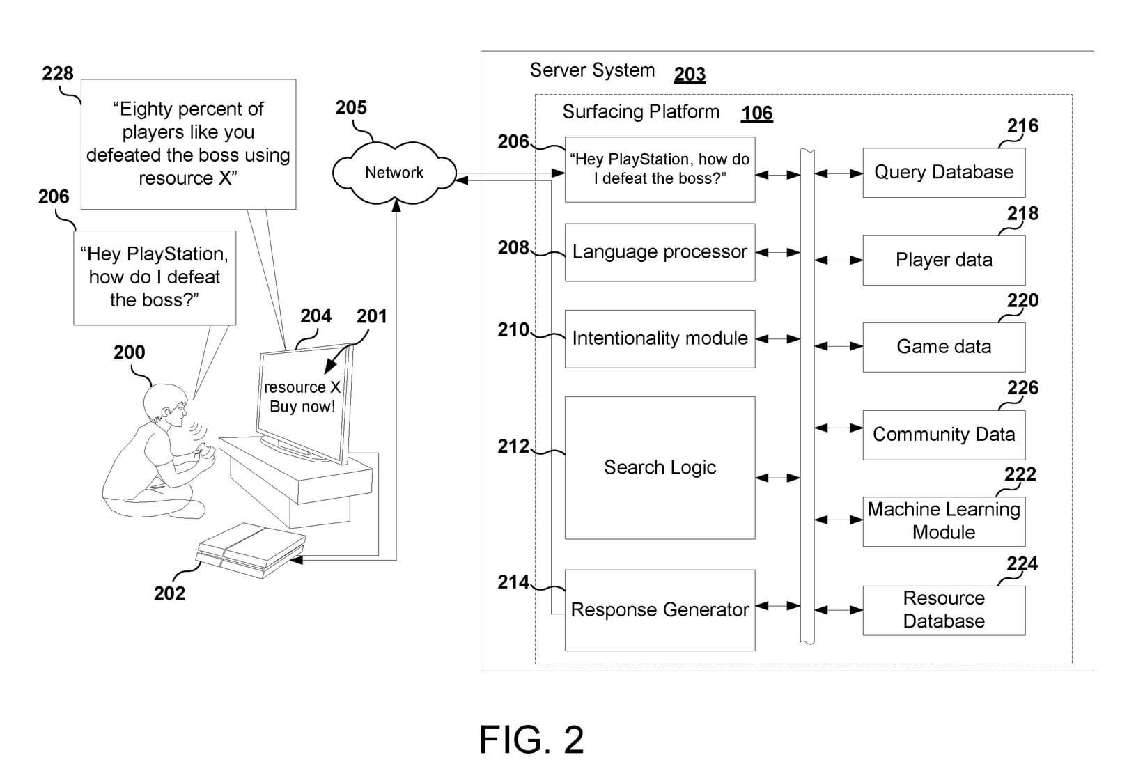
Компания Sony подала заявку на патент, в котором описывается система, призванная помочь игроку пройти непростые моменты в проектах вроде битв с боссами. В патенте описываются способы по анализу данных игроков, чтобы предлагать им различные подсказки.
В качестве одного из примеров используется изображение змея Ёрмунганда из God of War, который, правда, не является боссом в игре. На картинке можно увидеть совет о том, как справиться с трудным моментом с помощью определённого ресурса
Ещё на одном изображении в качестве совета упоминается возможность купить ресурс, который поможет игроку победить босса.
«Зачастую в игре могут быть ресурсы, которые помогут пользователю выполнить задание. Внутриигровые ресурсы могут быть в формате загружаемого контента (DLC), дополнений, улучшений, вещей, подсказок, общих данных и тому подобного. Однако пользователь может не знать о существовании подобных ресурсов», - говорится в патенте.
Система может посоветовать игроку использовать определенное умение или предмет, которое применяли другие пользователи для прохождения непростого сражения. Система после запроса от игрока ищет в интернете и информации от пользователей полезные сведения.
Ещё в сентябре прошлого года в сети появилось упоминание о патенте от Sony с описанием «системы голосовой поддержки с использованием искусственного интеллекта» PlayStation Assist».


