Японский гигант, возможно, работает над использованием возможностей PlayStation 3. Многое указывает, что Sony Interactive Entertainment по-прежнему хотела бы позволить сообществу играть в старые игры не только через стриминг.
Спецификации и программное обеспечение PS3 настолько нестандартны, что стали крепким орешком. В то время как руководство компании, похожё, все больше продвигает старые устройства, новая подписка PlayStation Plus, позволяющая знакомиться с играми PlayStation 3 через облако, должна была удовлетворить определенную группу геймеров. Но отсутствие эмуляции подверглось критике. Возможно, Sony ещё не сказала последнего слова.
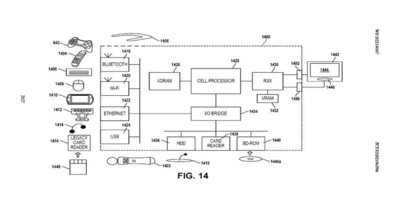
В конце июня компания подала патент «Системы и методы преобразования устаревшего кода в обновленный код», в котором подробно описывается процесс эмуляции игр. Подробное описание сопровождается схемой, предлагающей использовать такие старые аксессуары, как PSP Go, EyeToy, PS Mouse, контроллер PlayStation Move и раннюю версию DualShock. Но значительная часть указанных аксессуаров недоступна для покупки.
Документ подтверждает, что Sony, возможно, стремится разработать эмуляцию системы, которой уже много лет. Стоит помнить, что не каждая запатентованная технология реализуется на практике.
