Новая технология будет следить за тем, как справляется пользователь и подстраивать игру под его опыт соответствующим образом
Sony недавно зарегистрировала патент, описывающий технологию регулирования уровня сложности в играх в реальном времени.
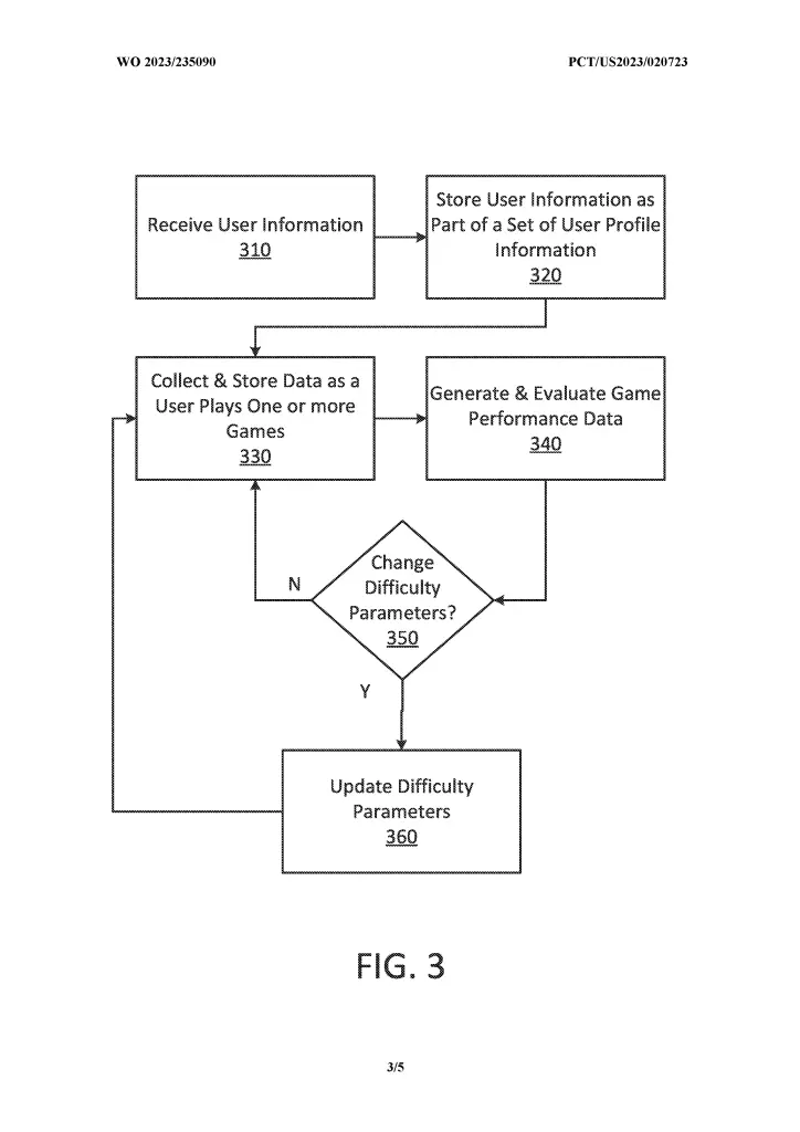
Так называемая «Адаптивная калибровка сложности для действий, основанных на навыках, в виртуальных средах» использует определенный набор алгоритмов, отслеживающих то, как и насколько быстро игрок справляется с поставленными задачами и понимает механики. Анализируя действия пользователя, игра будет увеличивать или упрощать сложность, сохраняя высокий уровень вовлеченности.
Подобные алгоритмы позволят сделать прохождение игры уникальным для каждого пользователя.
