Sony может открыть новую эру в видеоиграх, создав голографический дисплей для консолей PlayStation. Опубликованный патент свидетельствует о работе над системой отображения, которая может произвести революцию в игровом взаимодействии, предлагая новые ощущения, включая аватары в полном 3D.
Голографический дисплей Sony способен изменить восприятие игр, позволяя взаимодействовать с персонажами в 3D-пространстве. В патенте описывается уникальный пользовательский интерфейс, объединяющий голографические проекции и жесты рук для обеспечения беспрецедентного погружения в игровой процесс.
Технологические достижения Sony интересны, но нет никакой гарантии, что этот голографический интерфейс или другие патенты когда-нибудь станут достоянием общественности в виде устройства/аксессуара. Но если компания решится его выпустить, он может полностью изменить способ взаимодействия геймеров с цифровым миром.
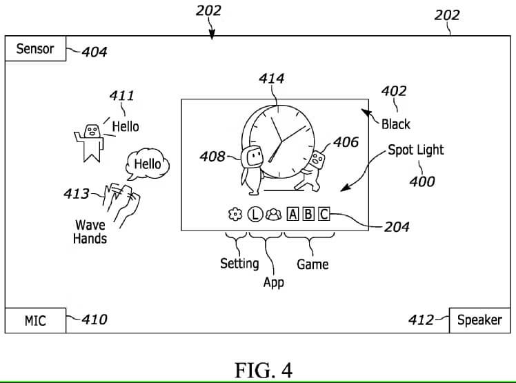
В патенте Sony на голографический интерфейс подробно описаны 3D-возможности и взаимодействия с пользователем с помощью жестов и движений. Например, пользователь может помахать рукой и поздороваться с экранным аватаром, а затем попросить показать новые сообщения или уведомления. Пользователи также смогут взаимодействовать с 3D-голограммами аватаров на главном экране устройства или использовать голографический дисплей во время игр.
Это стало бы своего рода революцией или даже прорывом в области взаимодействия с виртуальным миром. Проблема в том, сколько придется заплатить за такое «чудо».




