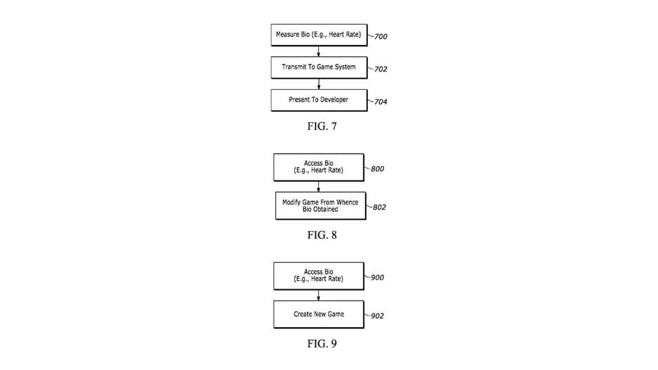
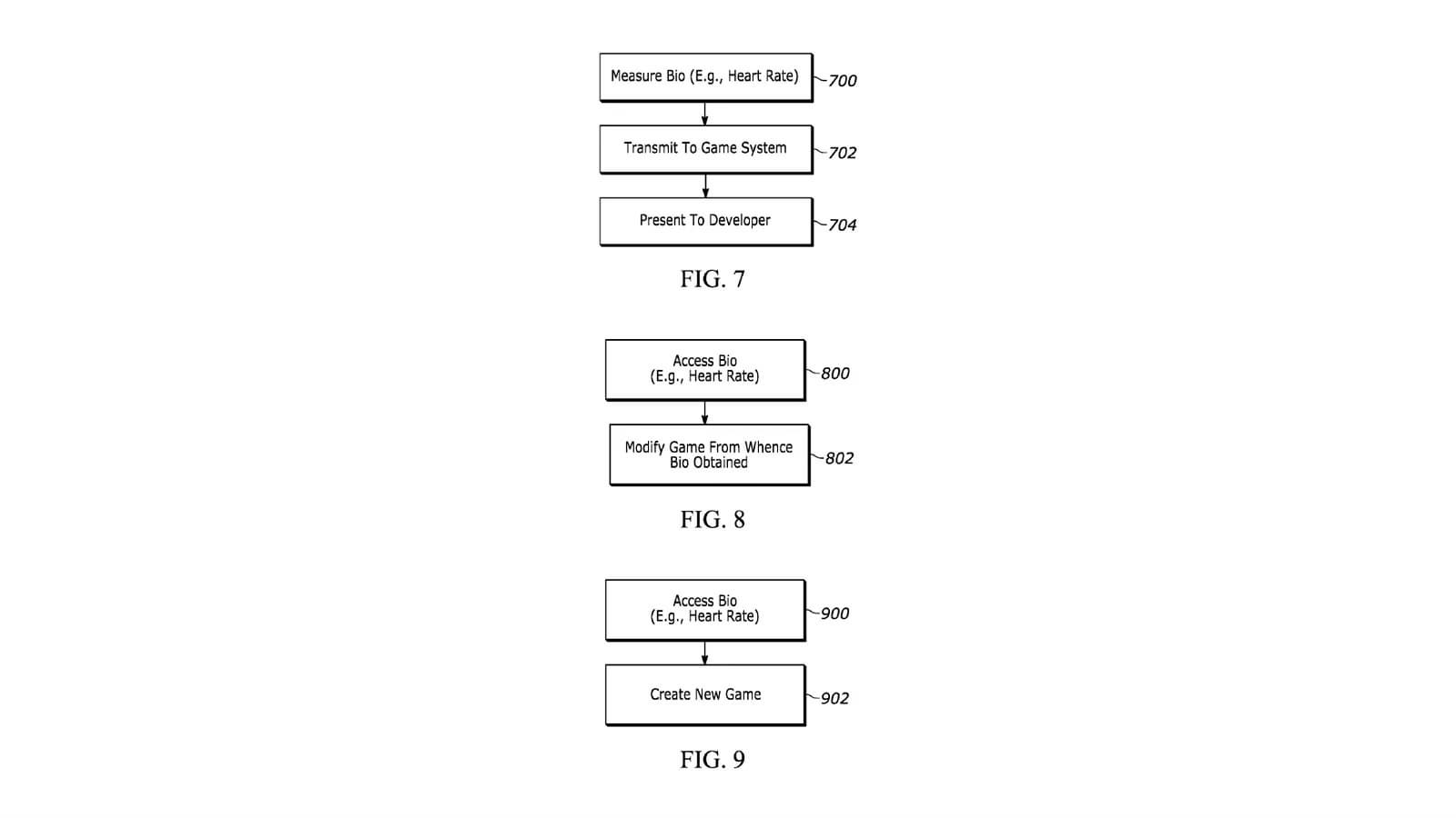
Четыре последних патента Sony посвящены технологии биометрических датчиков, которые могут считывать пульс игроков в играх для PlayStation и таким образом регулировать ряд аспектов в зависимости от реакции.
Среди соответствующих элементов инженеры называют регулировку уровня сложности игры, поведение NPC и запись фрагментов игрового процесса. Если пользователь сильно возбуждается во время определенных сцен, консоль сможет записывать его игровой процесс - от момента сильного учащения пульса до его снижения и успокоения.
Например, уровень сложности прицеливания может быть увеличен в ответ на снижение пульса или снижен в ответ на повышение пульса.
Технология может быть использована в смарт-часах, телефонах, а также контроллерах. В то же время в описании патентов приводится разбивка пользователей по частоте сердечных сокращений - частота сердечных сокращений более 100 ударов в минуту относит людей к категории «возбужденных».
Будет ли Sony использовать описанные патенты? Неизвестно. Прошлое показала, что некоторые идеи компании дожили до стадии развития, а некоторые запрятаны глубоко в ящик.
***
Автор иллюстрации: Sony. Источник иллюстрации: The Gamepost
***
Автор обложки: The Gamepost. Источник обложки: The Gamepost


