Компания Electronic Arts подала новый патент, в котором планирует автоматизировать процесс тестирования игр с помощью искусственного интеллекта, заменив людей, занимающихся этим сейчас.
По мнению EA, такой подход будет более экономичным и ускорит процесс тестирования.
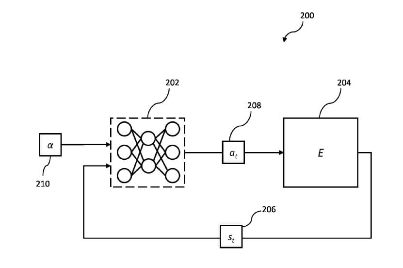
Согласно информации из патента EA, ИИ будет использоваться для создания виртуальных тестировщиков с разнообразными игровыми стилями и поведением, что позволит моделировать различные типы игроков. ИИ будет проводить тестированиях на разных уровнях сложности, что обеспечит более точную оценку того, как игра воспринимается различными категориями пользователей.
Система также предполагает использование ИИ для анализа и оптимизации игрового процесса, включая тестирование интерфейсов, механик и баланса. Это позволит EA ускорить выявление багов и улучшить качество игры, в то время как традиционные методы тестирования, требующие значительных затрат времени и ресурсов, останутся в прошлом.
Интересно, что ИИ будет не только выполнять тестирование, но и давать рекомендации по улучшению игрового опыта, основываясь на данных о том, как игра воспринимается виртуальными пользователями с различными привычками.
Более подробно о патенте по ссылке.
***
Источник иллюстрации: Patentscope
***
Автор обложки: EA. Источник обложки: EA
