Технология позволит всегда играть с идеальными напарниками.
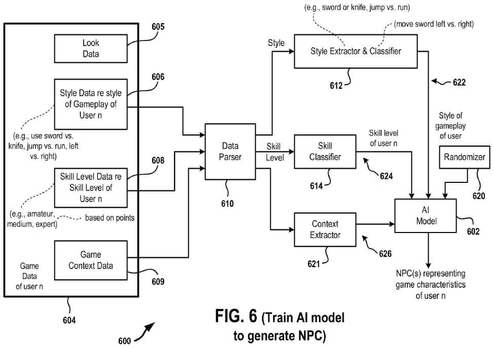
Sony получила патент на инновационную систему искусственного интеллекта для неигровых персонажей (NPC), способную воспроизводить стиль игры конкретного пользователя. Технология, заявка на которую была подана еще в августе 2023 года, а сам патент обнародован 6 марта 2025 года, использует машинное обучение для создания NPC, способных подражать действиям и стратегиям реальных игроков.
Система предполагает сбор данных о стиле игры с согласия пользователей, после чего искусственный интеллект анализирует эти данные и формирует NPC, способных выступать в роли напарников. Такие персонажи могут заменять или дополнять других игроков в многопользовательских играх, что особенно полезно для тех, кто предпочитает играть в одиночку или просто не хочет объединяться с незнакомцами. NPC сможет подстроиться под определенный стиль игры, помогая действовать агрессивно или сидеть в обороне.
***
Источник изображения: Sony

