Игры будут запускаться через облако
Игры будут запускаться через облако
Microsoft предоставила подробности об обратной совместимости для Xbox Series X. Покупатели консоли смогут не только играть в игры с Xbox One, но и в продукты прошлых поколения, включая Xbox 360 и Xbox.
В прошлом году президент Sony Interactive Entertainment Джим Райан подтвердил, что «PS5 была разработана для игр с PS4» . А как насчет предыдущих консолей?
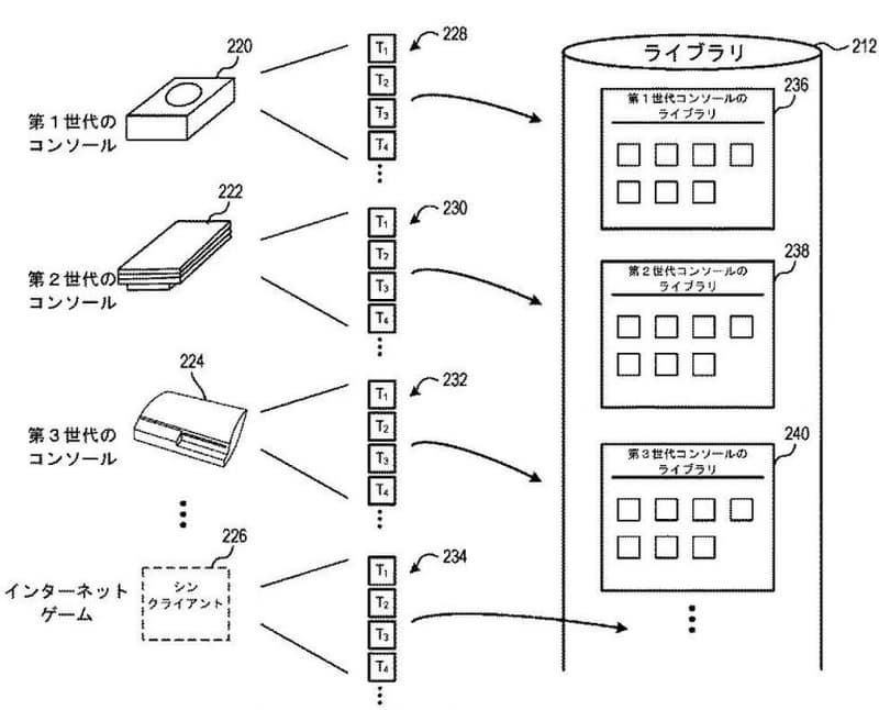
Пользователь твиттера Renka_schedule обнаружил, что Sony в 2020 году в Японии подала заявку на патент, согласно которому консоль сможет эмулировать игры для PlayStation 3, PlayStation 2 и PlayStation с использованием облака:
«Большое количество игр от PS1 / PS2 / PS3 и различных поколений консолей можно хранить и использовать через облачную библиотеку. Эти игры можно запускать на виртуальной машине, которая эмулирует операционную систему, связанную с каждой игровой консолью».
Нельзя наверняка утверждать, что Sony обеспечит поддержку игр с предыдущих платформ вышеупомянутым способом, и это просто цитата. Но в условиях конкуренции понятно, что японцы ищут подобное решение.
В прошлом году Sony подтверждала, что с помощью облака игроки следующего поколения будут получать игры из трёх источников: на Blu-ray-дисках, загружая из PlayStation Store и путём стриминга.


