Sony явно не намерена отказываться от виртуальной реальности, потому как представила в ведомство по патентам и товарным знакам США документ с описанием гироскопического кресла, позволяющего вращать тело игрока
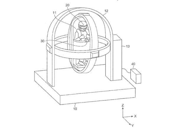
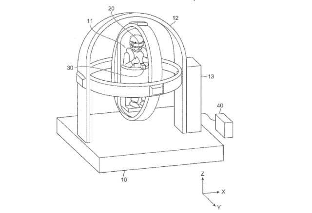
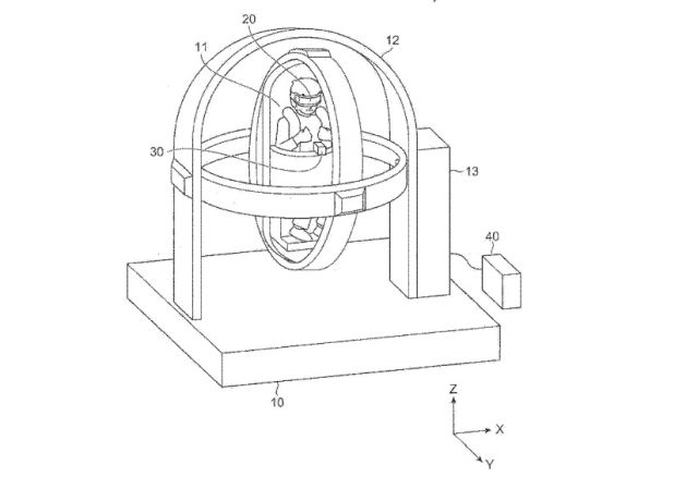
Sony явно не намерена отказываться от виртуальной реальности, потому как представила в ведомство по патентам и товарным знакам США документ с описанием гироскопического кресла, позволяющего вращать тело игрока.
В зарегистрированном патенте говорится, что устройство будет работать, определяя направление, в котором пользователь повернулся в виртуальной реальности. Оно также включает систему определения направления, в котором находится лицо пользователя для отображения правильного изображения и уменьшающее чувство дискомфорта из-за несоответствия реального и виртуального пространства.
Очевидно, что проект может остаться на уровне патента и никогда не реализуется, но также может найти применение в гоночных играх и авиасимуляторах.
Напомним, Sony подтвердила, что шлем PS VR будет совместим с PlayStation 5.

