Игровое подразделение Sony запатентовало интересную технологию. Предполагается, что можно за виртуальные или реальные деньги кикнуть игрока
Журналисты VGC обратили внимание на патент Sony «Spectators Vote to Bench Players in a Video Game», который подали в январе 2020 года, а в минувший вторник 19 октября 2021 года был выдан.
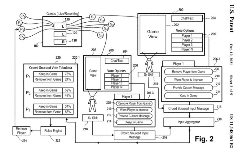
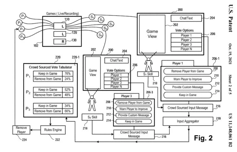
Предлагаемая в патенте технологи расширяет возможности зрителей, которые наблюдают за матчем. Они смогут голосовать за удаление (кикать) или отправку игроков на скамейку запасных, посылать им сообщения, чтобы предупредить «играй лучше», или даже заплатить за их удаление (кик).
Это работает примерно так: зритель получает доступ к меню с несколькими вариантами действий: проголосовать за удаление игрока, отправить игроку предупреждение, собственное сообщение или оставить игрока в игре.
Если большинство проголосует «ЗА» удаление, то игрока кикнут. Возможно, будет специальная анимация и сообщение с пояснением, что сейчас произошло. В патенте упоминается, что может рассчитываться «вес голоса» на основе мастерства голосующего.
Не обошлось и без монетизации. В случае с «удалением игрока» есть такие варианты: заплатить фиксированную цену, заплатить процент от фиксированной цены или сделать ставку на аукционе. При этом речь идёт не только о внутриигровой валюте, но и о реальной.
Время покажет, как проявит себя данная технология на практике.
