Одним из самых ожидаемых продуктов для владельцев PlayStation 5, помимо игр, перенесенных на следующий год, является новое устройство виртуальной реальности.
Оно носит название PSVR 2 и патент, похоже, оказался в сети.
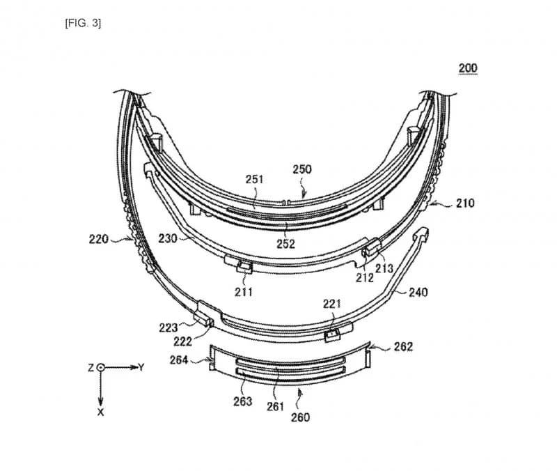
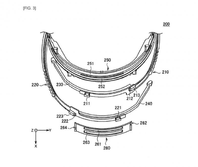
На схемах можно обнаружить похожий дизайн и стиль с предыдущим шлемом, но с оптимизацией по всем направлениям. PSVR 2 кажется более компактным и более эргономичным, что пригодится во время длительных игровых сессий. Представленная модель стала меньше с увеличенной задней частью, контактирующей с головой.
Дизайн напоминает устройство, которые японский гигант создал для парка Ginza Park в Токио к 35-летию фильма «Охотники за приведениями».



