Он призван помочь глухим геймерам беспрепятственно общаться в режиме реального времени, понимая языки жестов друг друга.
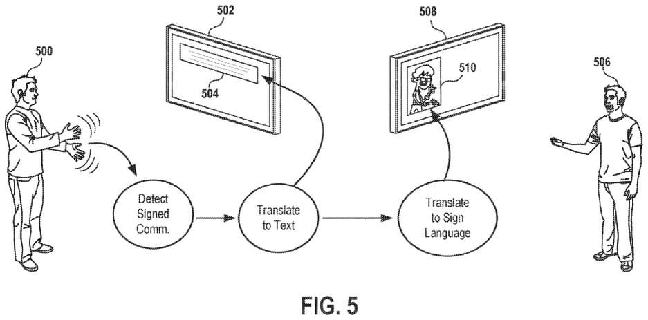
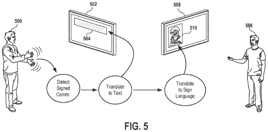
Патент, получивший название «TRANSLATION OF SIGN LANGUAGE IN A VIRTUAL ENVIRONMENT», описывает его функциональность, рассказывая о том, как он работает между двумя пользователями. Английский пользователь может попытаться поговорить с японским пользователем, используя язык жестов; жесты на английском языке сначала будут переведены в текст, который затем преобразуют в японский, а затем превратят в жесты на японском языке.
Sony утверждает, что языки жестов по всему миру различаются, поэтому их необходимо переводить в режиме реального времени во время активных разговоров, чтобы помочь глухим геймерам понимать друг друга в играх.
Sony гарантирует, что система сможет различать простые жесты и языки жестов, чтобы обеспечить пользователям возможность погружения. Подразумевается, что система может быть использована в VR-играх, традиционных играх и неигровых приложениях.
Стоит помнить, что существование патент не обязательно говорит о том, что его воплотят в реальность.
***
Автор иллюстрации: Sony. Источник иллюстрации: Tech4gamers
***
Автор обложки: Firesprite Games. Источник обложки: Tech4gamers

