В обнаруженным патенте «LARGE LANGUAGE MODEL POWERED SOCIAL INTEGRITY SYSTEM» говорится об использовании ИИ для поиска потенциально вредоносных пользователей.
ИИ якобы будет «загонять» их в ловушку, позволяя наделать ошибок. Система выявит потенциальных злоумышленников и примет против них меры.
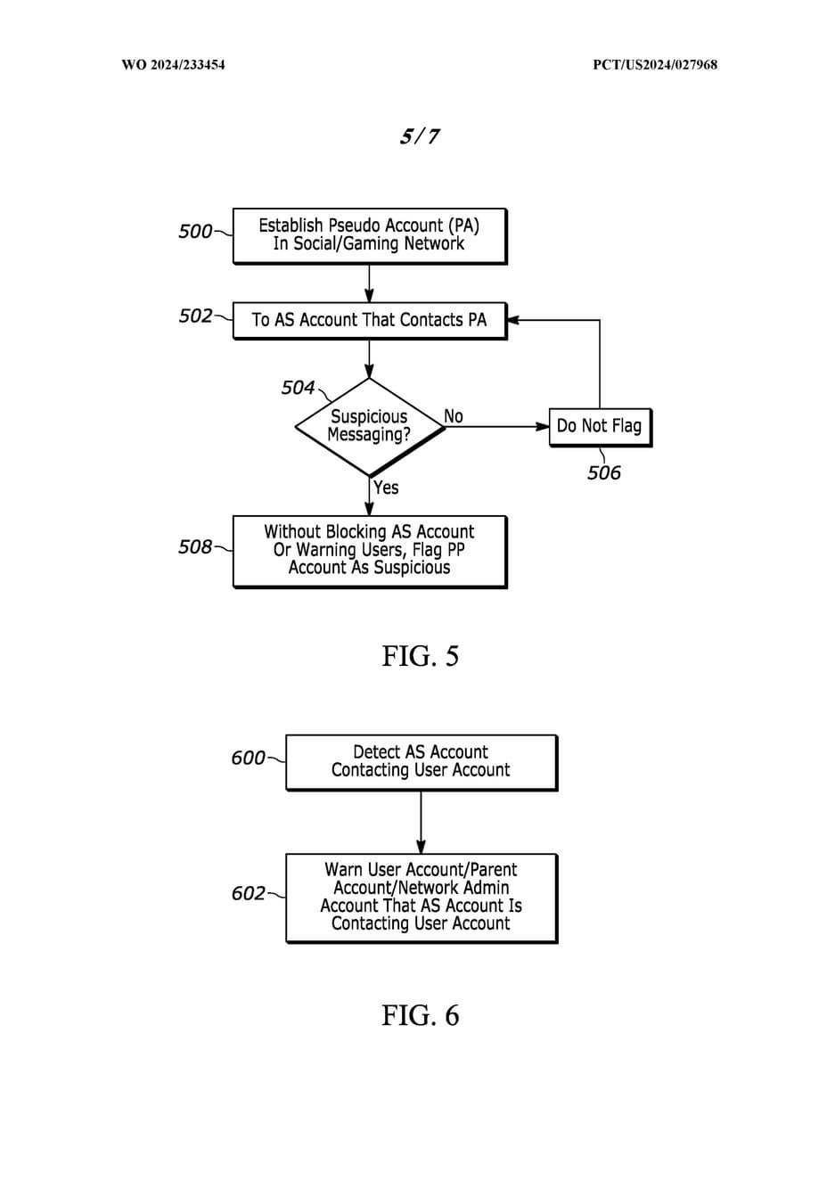
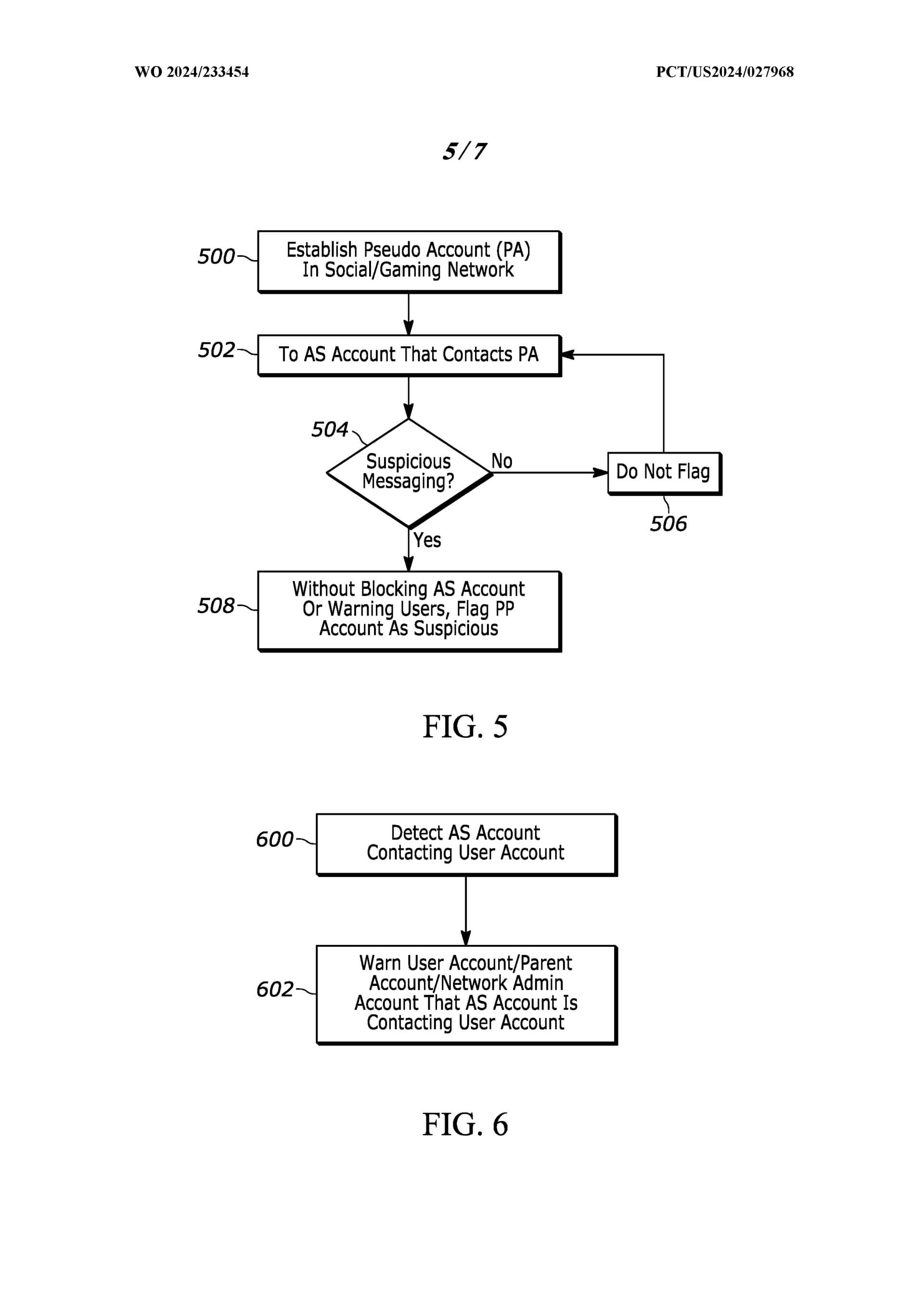
Sony утверждает, что нынешняя система основана на реактивном подходе, когда пользователи, которые нарушают правила и портят игровой процесс, будут выявлены. Аккаунт такого игрока помечается, как подозрительный, и система может подождать, пока он предпримет первые действия в отношении нормального аккаунта, и сообщит об этом до того, как произойдет какое-либо нежелательное общение.
Sony, вероятно, будет использовать профили пользователей на основе ИИ, чтобы отстранять опасных игроков или помечать их аккаунты в играх для дальнейшей модерации человеком. Таким образом, система призвана сделать игры безопасными.
***
Автор иллюстрации: Sony. Источник иллюстрации: Tech4gamers
***
Автор обложки: Team Asobi. Источник обложки: Tech4gamers

