Сценаристам осталось недолго? Microsoft патентует ИИ для создания игровых сюжетов

Сценаристам осталось недолго? Microsoft патентует ИИ для создания игровых сюжетов

15 янв 2025 10:21

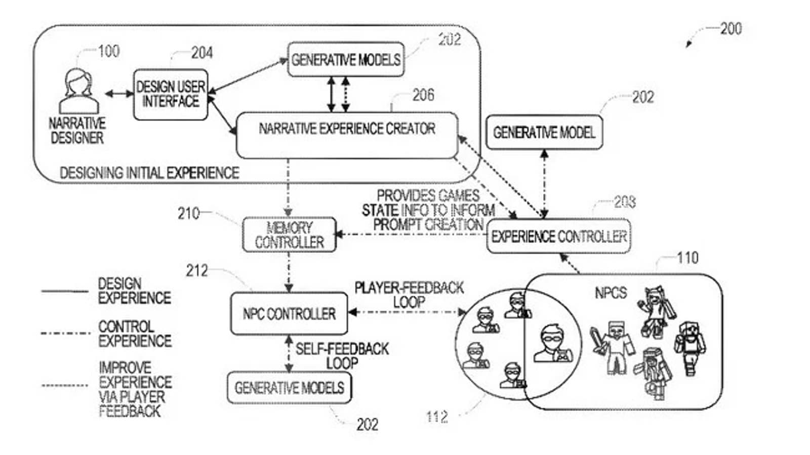
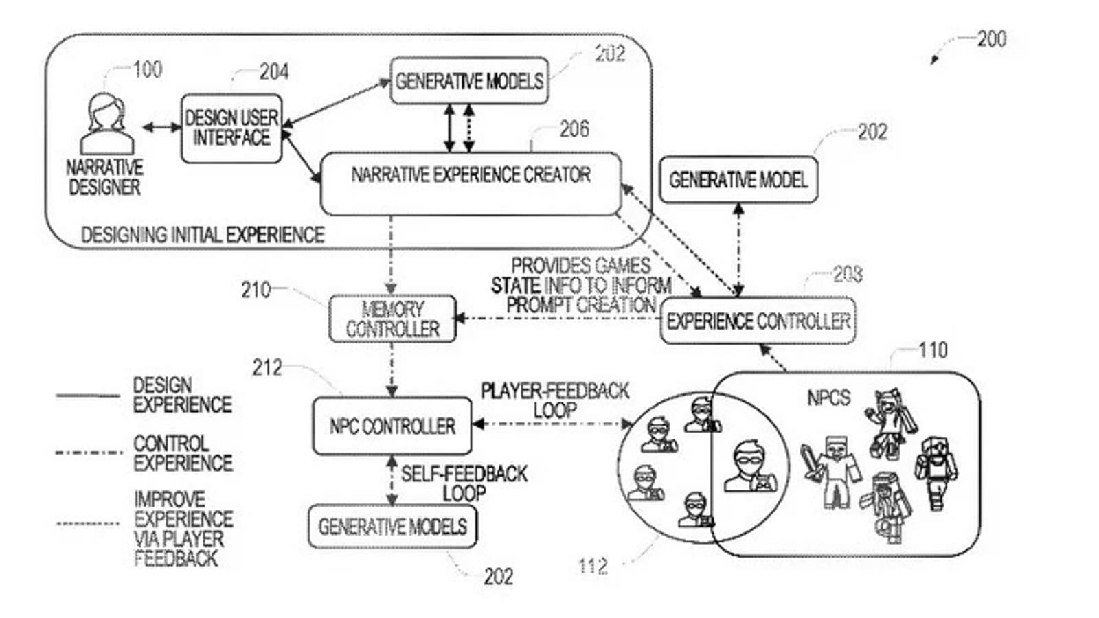
Microsoft подала патент на использование генеративного искусственного интеллекта для создания и изменения игровых сюжетов. Патент, зарегистрирован в 2024 году и описывает способы, позволяющие разработчикам и игрокам настраивать игровые события с помощью текстовых запросов.

Система может работать в уже существующих играх, таких как Minecraft. Игроки смогут вводить команды для генерации новых игровых правил, NPC или полностью уникальных элементов сюжета. Например, по запросу можно добавить новых персонажей или переработать правила игры.

Патенты часто остаются теоретическими концепциями и не всегда находят применение в реальных продуктах. Но этот шаг демонстрирует направление, в котором Microsoft планирует развивать технологии.

Компания давно делает ставку на ИИ, инвестируя миллиарды долларов в OpenAI. В 2024 году глава игрового подразделения AI, Хайян Чжан, заявила, что ИИ должен дополнять разработчиков, а не заменять их.

Другие крупные студии также исследуют данную область. Например, на Investor Day 2024 Electronic Arts показала концепцию, где игроки могут создавать игровой мир на основе запросов, генерируя, например, «картонные миры». 

Мнения об использовании ИИ в играх разделились. Брайан Фарго, глава inXile Entertainment, выразил сомнения, что ИИ может заменять людей в создании качественных сюжетов и персонажей. 

***

Автор обложки: Microsoft. Источник обложки: Windows Central

Дмитрий Кривов
15 янв 2025 10:21
Источники: Windows Central

Сейчас на главной