На картинках можно увидеть конструкцию с шестью вентиляторами.
На картинках можно увидеть конструкцию с шестью вентиляторами.
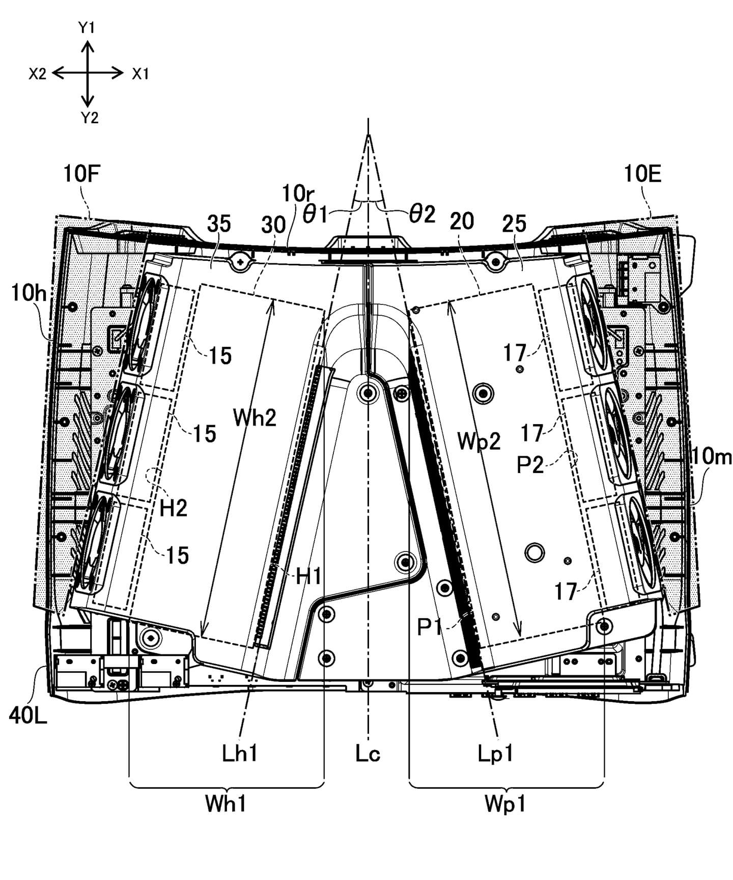
Ещё в октябре прошлого года в сеть просочились фотографии девкита PlayStation 5, который примечателен V-образной формой и отличается от нынешних консолей. Недавно в базу данных Всемирной организации интеллектуальной собственности добавили новый патент девкита PS5 с интересными изображениями в комплекте.
На картинках можно заметить систему охлаждения устройства с шестью вентиляторами и радиатором. По три вентилятора расположено с каждой стороны девкита. Три вентилятора отвечают за охлаждение системы питания, а ещё три – за охлаждение процессора.
Стоит отметить, что девкит может отличаться от консоли, которая поступит в продажу. Пока подробностей о внешнем виде PS5 нет. Запуск консоли запланирован на конец этого года.



