До официального анонса параметров грядущей гибридной консоли Nintendo Switch остаётся почти месяц, а слухов, «сливов» и мыслей о её возможностях уже предостаточно.
До официального анонса параметров грядущей гибридной консоли Nintendo Switch остаётся почти месяц, а слухов, «сливов» и мыслей о её возможностях уже предостаточно.
Очередной слух, больше похожий на правду, пришёл с форума NeoGAF, где пользователь Rösti опубликовал патент на Nintendo Switch подкреплённый большим количеством изображений и описаний нового устройства, на котором можно будет играть не только дома у телевизора, но и на самостоятельной консоли.
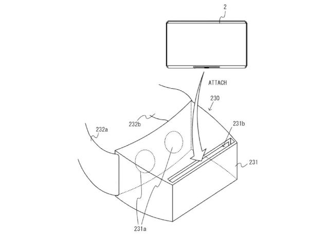
Среди изображений присутствует одно, где устройство вставляется в прорезь в передней части устройства, напоминающего шлемы виртуальной реальности, подобные Samsung Gear VR и Google Daydream View. В самом патенте нет текстового упоминания о шлеме VR, а сама консоль будет не столь мощной, как современные домашние приставки PS4 и Xbox One, но способна показать виртуальную реальность, подобно текущим мобильным решениям. Правда, разрешение экрана устройства всего 720p.
