Sony часто удивляет фанатов патентами. На днях японская корпорация зарегистрировала ещё один, на этот раз касающийся удаления других игроков из игры обычными зрителями. Идея была бы прекрасной, если бы не примечание о том, что система будет основана на оплате реальными деньгами.
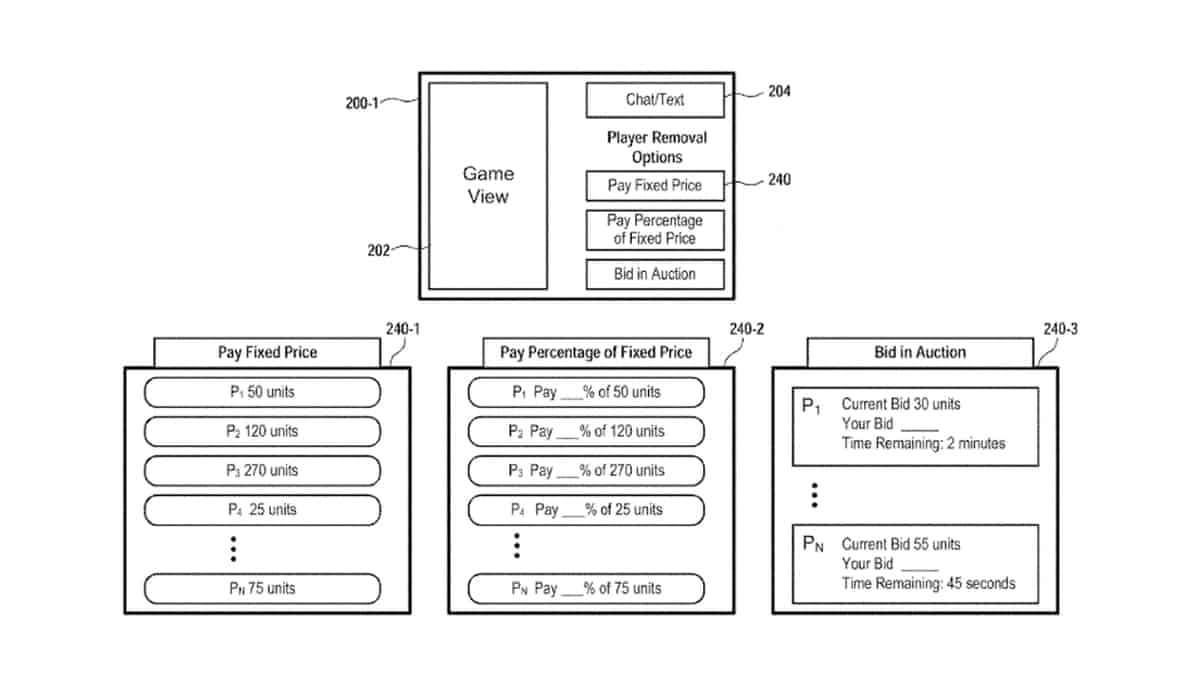
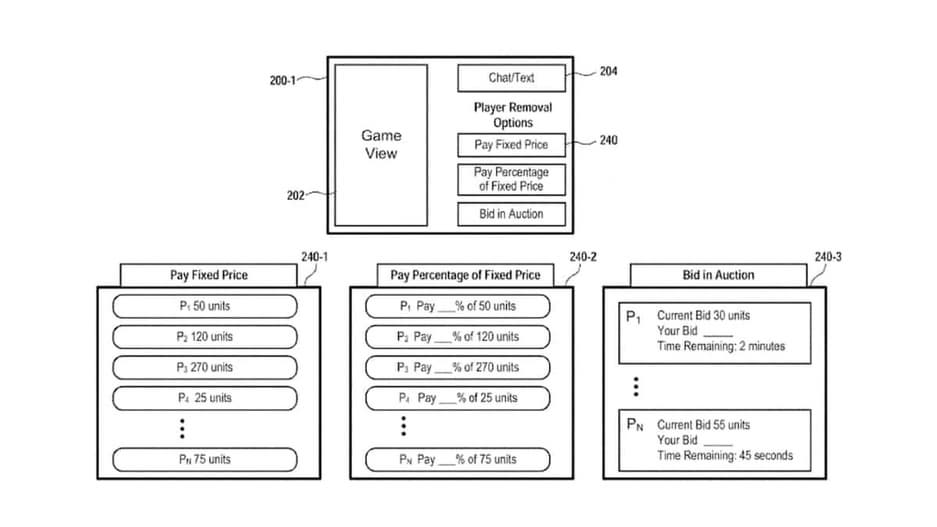
Согласно опубликованному патенту, доступному по ссылке, Sony хорошо понимает, что привлечение зрителей на таких платформах, как Twitch, повысит интерес к игре. Одним из способов повышения вовлеченности может быть интерфейс для голосования, где зрители голосуют за то, от каких токсичных или слабых игроков в команде они хотят избавиться (если таковые имеются).
Исключение из сеанса будет временным (на один раунд) или постоянным (на весь матч), но при каждом голосовании со зрителя будет взиматься плата в валюте, которая предусматривает трату реальных денег.
В любом случае, патенты не всегда воплощаются в жизнь.
