Редакторы издания Veryaligaming обнаружили патент «Проходное устройство для облачных игр и методы обработки», согласно которому Sony может предложить сообществу доступ к множеству игр через интегрированное устройство, напоминающее Apple TV и Amazon Fire TV Stick.
Ранее компания предлагала подписку PlayStation Now через консоли и на ПК, но, возможно, компания планирует использовать облако.
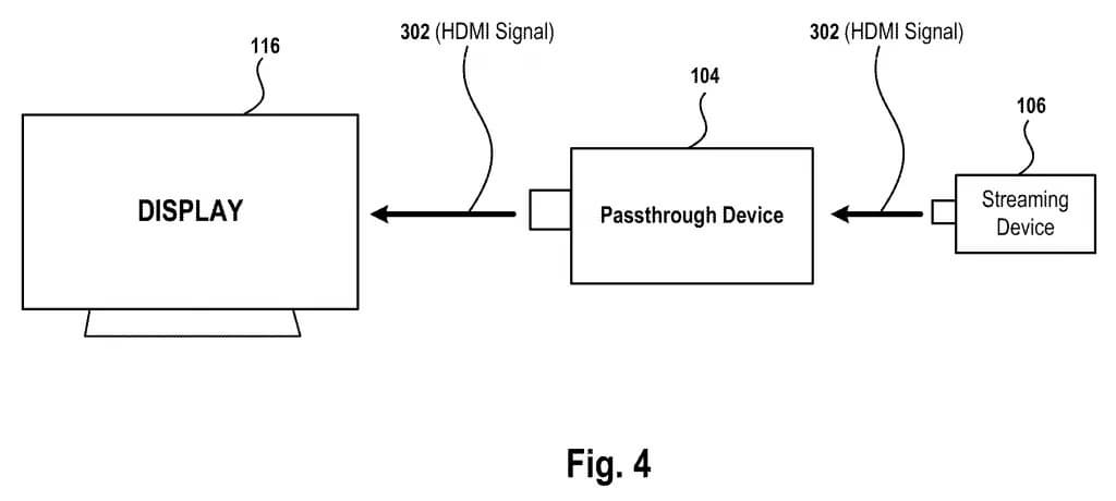
Судя по описанию в патенте, компания захочет выпустить новое устройство, где будут доступны игры PlayStation, музыка, фильмы, сериалы и новости. Его можно подключать к интеллектуальным телевизорам и мобильным устройствам. В патенте говорится:
«Соответственно, пользователи могут плавно переключаться между просмотром медиаконтента и играми в облаке, эффективно используя переходное устройство, подключенное к предпочитаемому потоковому устройству».
Это должно быть что-то наподобие стика, похожего на вариант от Amazon, который можно подключить к телевизору, получив доступ к каталогу игр и различным сервисам Sony. Похожее решение было у Microsoft для Xbox Cloud Gaming, когда компания делала свой сервис доступным через браузеры, приложения, а с недавнего времени и для пользователей телевизоров Samsung. Производитель также работал над небольшим устройством, которое обеспечивало бы доступ к Xbox Game Pass, но работу над проектом приостановили.


