Google подтвердила создание инструмента ИИ, обученного тестировать игры. По словам компании, технология поможет решить проблему выхода технически недоработанных продуктов.
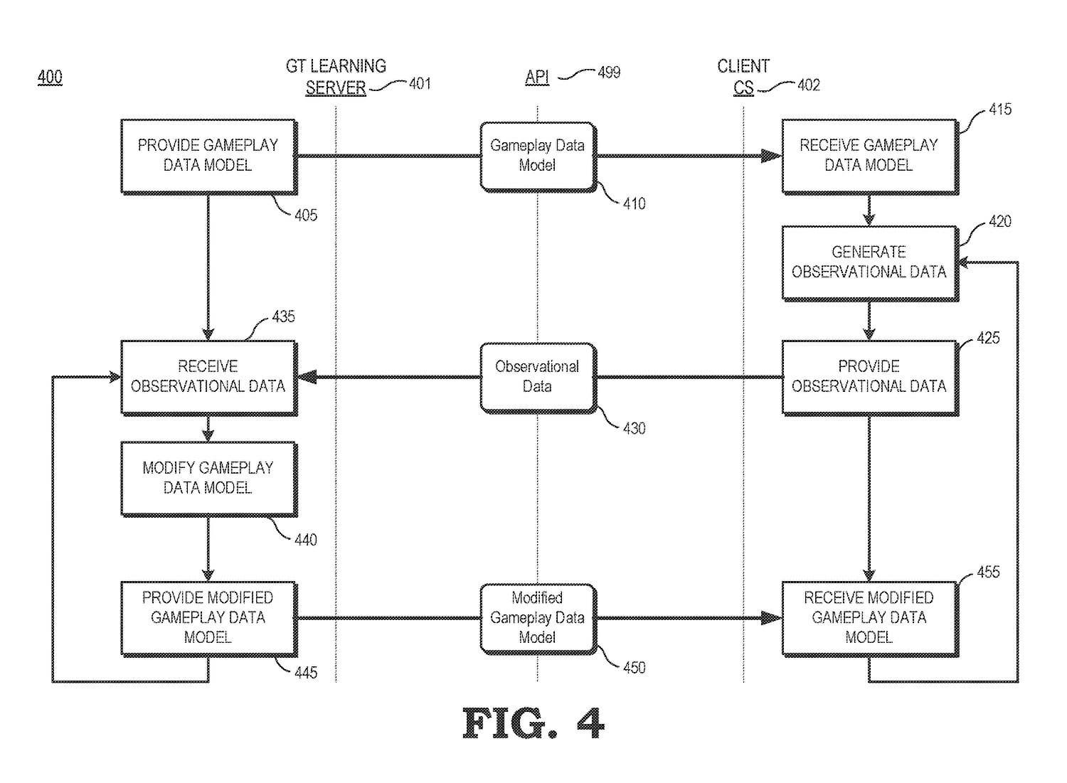
Проект с названием «Efficient Gameplay Training For Artificial Intelligence» будет направлен на автоматизацию процесса тестирования игр с использованием возможностей искусственного интеллекта. Согласно представленной схеме, система будет основана на создании внутриигрового персонажа, который возьмет на себя выполнение рекомендуемых действий и сбор данных. Это избавит разработчиков от повторения рутинных тестирований
Google объясняет, что команды уже не справляются с масштабом сложности новейших игр, поэтому всё чаще выходят низкокачественные продукты и происходит задержка релизов.
Не похоже, что ИИ в один миг лишит работы тестировщиков, но со временем инструмент будет достигать всё более совершенных уровней развития. Тем не менее креативность опытного работника может оказаться незаменимой.
