AMD подала заявку на патент новой архитектуры «мультичиплетных» графических процессоров. Кажется, «команда красных» имеет большие планы по созданию видеокарт нового поколения.
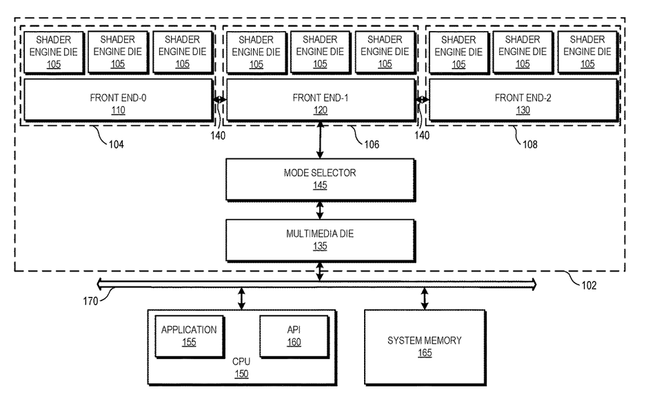
Новая патентная заявка AMD показывает, что в компании размышляют над созданием «мультичиплетных» графических процессоров. Патент описывает использование трёх различных режимов работы в «мультичиплетной» конструкции графического процессора.
Первый режим «Single GPU» подразумевает общую среду, когда все встроенные чиплеты будут работать как единый процессор с общими ресурсами. Во втором режиме «Independency Mode» чиплеты работают независимо друг от друга, отвечая каждый за свои функции через выделенный кристалл.
А третий режим станет комбинацией из первых двух, сочетая централизованный и распределённый режим работы, в зависимости от текущих задач. Последний режим отличается высокой эффективностью и масштабированием, но пока что это лишь теоретический взгляд на будущее графических процессоров от AMD.
Автор изображения: AMD Источник изображения: Wccftech
«Мультичиплетные» конструкции позволяют повысить эффективность использования площади кремниевых пластин или использовать в рамках одного продукта чиплеты, произведённые по разному техпроцессу, предлагая широкую гибкость при производстве.
Однако на текущий момент подобное производство представляет собой слишком сложный процесс, требующий дорогостоящего и высокотехнологичного оборудования, что, непременно, скажется на стоимости финального продукта. Таким образом, пока рано даже говорить о массовом производстве таких графических процессоров для потребительского сегмента.
К тому же, AMD выступает сторонником длительной поддержки существующих технологий и не подгоняет пользователей в магазины за «апгрейдом». Известно, что процессор Ryzen 7800X3D останется лучшим игровым процессором, даже после выхода серии Ryzen 9000 в следующем месяце, а сокет AM5 будет актуален, как минимум, до 2027 года.
***
Автор обложки: AMD Источник обложки: Wccftech
