Microsoft опубликовала новый патент, который описывает технологию подвижных и настраиваемых вибромоторов для контроллеров Xbox.
Разработка направлена на улучшение тактильной отдачи, предлагая инновационное решение, которое может составить конкуренцию технологии DualSense от Sony.
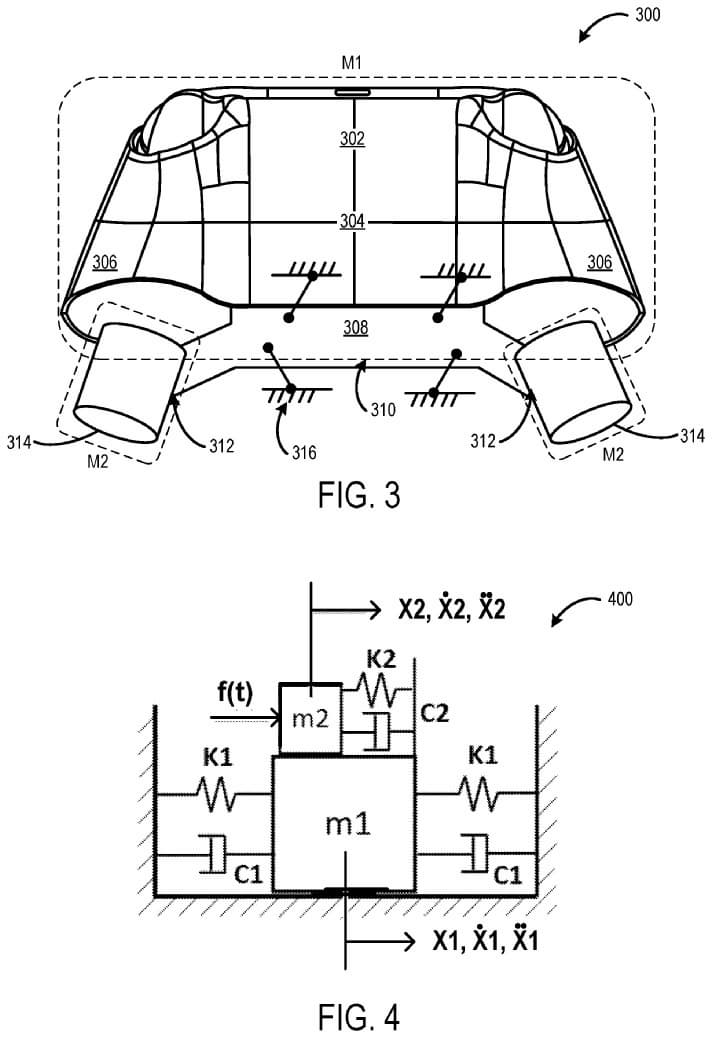
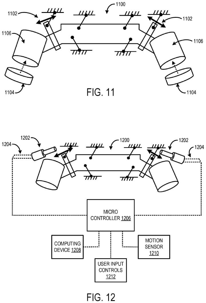
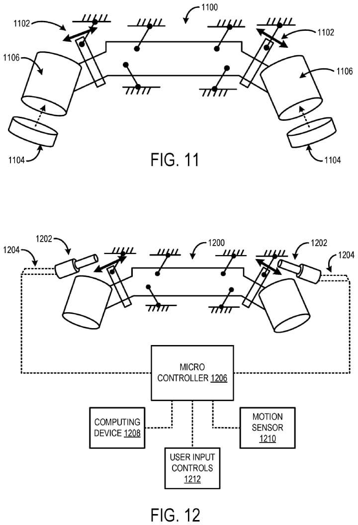
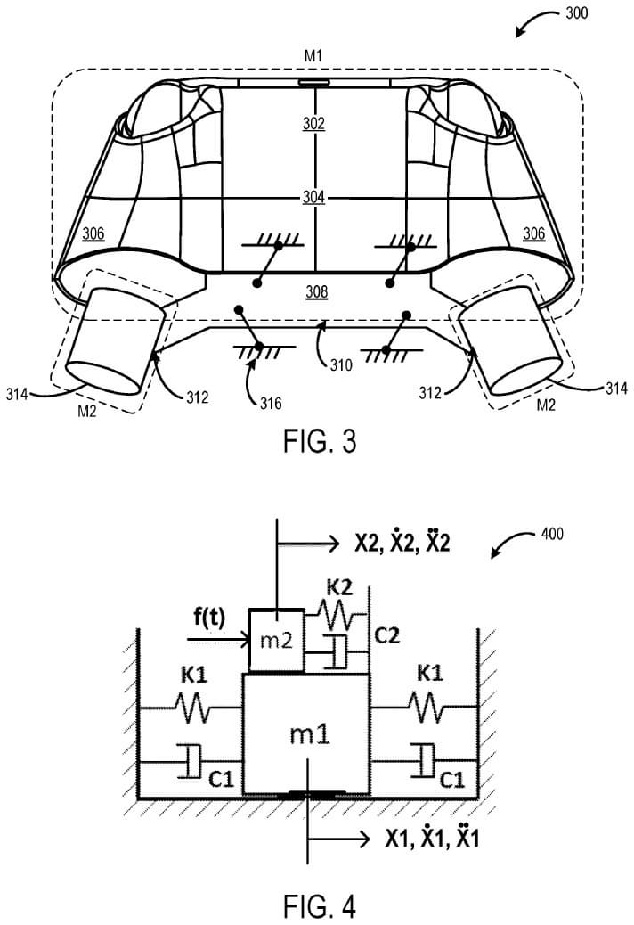
Главная идея патента заключается в использовании вибромоторов, которые могут перемещаться внутри корпуса контроллера, а не остаются фиксированными. Такой подход позволит создавать более естественные и детализированные вибрации. Кроме того, игроки смогут в реальном времени настраивать параметры вибрации для персонализации опыта.
Патент «TUNING HAPTIC FEEDBACK OF A DEVICE» подчеркивает преимущества новой технологии. Вибромоторы будут легче, меньше и дешевле в производстве, при этом способны выдавать два резонансных пика. Это означает, что контроллер сможет генерировать два разных типа вибрации, добавляя глубину тактильному отклику.
В патенте говорится, что современные вибромоторы дорогие, тяжелые и большие. Новая технология позволит достичь аналогичных или даже лучших результатов с помощью компактных и подвижных компонентов.
***
Автор иллюстрации: Microsoft. Источник иллюстрации: Tech4gamers
***
Автор обложки: Tech4gamers. Источник обложки: Tech4gamers

