Sony до сих пор не подтверждала наличие обратной совместимости в следующем поколении PlayStation, но, видимо, в компании уже много лет работают над одной из самых важных возможностей.
Sony до сих пор не подтверждала наличие обратной совместимости в следующем поколении PlayStation, но, видимо, в компании уже много лет работают над одной из самых важных возможностей. PS4 не поддерживает обратной совместимости и Sony долгие году уверяет игроков, что старые игры никому не нужны. Похоже, мнение компании изменилось.
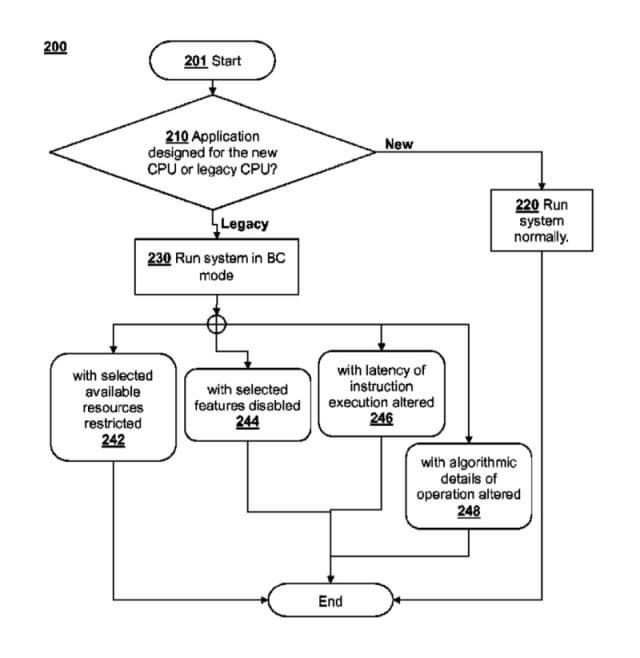
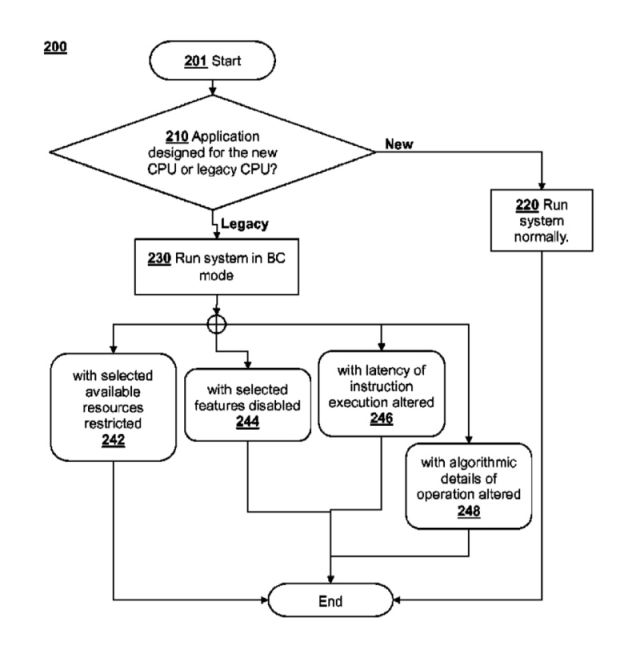
Sony Interactive Entertainment подала заявку патент в Ведомство по патентам и товарным знакам США от имени ведущего архитектора PS4 Марка Церни и менеджера проектов Naughty Dog Дэвида Симпсона под названием «Обратная совместимость» («Backward compatibility by algorithm matching, disabling features, or throttling performance»).
В патенте говорится, что новое устройство будет определять предназначено ли запускаемое приложение (игра) для устаревшего устройства (консоли) с устаревшим процессором, а затем включать его. Также описывается каким образом новый процессор эмулирует процесс старого устройства.
Интересно, что заявку подали в феврале 2015 года, но патент опубликован только в марте 2019 года. Ранее специалисты Digital Foundry утверждали, что PS5 будет поддерживать обратную совместимость.
.jpg)
