В новом патенте Sony, говорится, что японская компания работает над улучшением PlayStation Store. Покупатели вскоре могут увидеть обновленные карточки с информацией об игре.
Sony с релизом PS5 обновила игровой магазин с более плавным просмотром, ярким дизайном и рядом интересных элементов. Но, похоже, на этом изменения не закончатся.
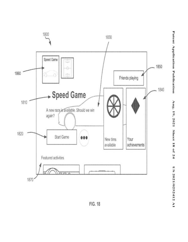
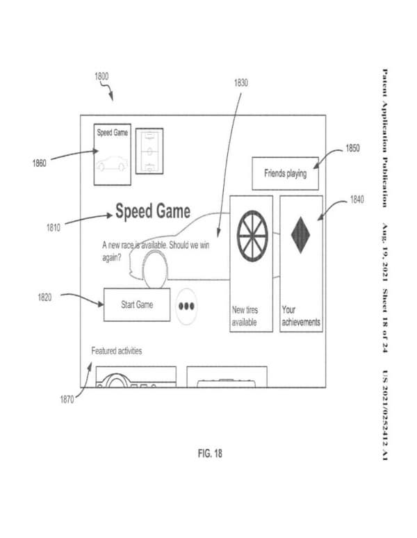
Обнаружен патент, где представлена концепция динамических, персонализированных карточек, которые могут меняться и эволюционировать вместе с товаром. Согласно замыслу, разработчики и издатели смогут вносить изменения в зависимости от «жизненного цикла продукта и ситуации с пользователями».
В примерах ниже мы видим карточку гоночной игры, где, помимо основной информации, содержатся дополнительные данные, такие как интерес к проекту среди друзей, заработанные достижения, дополнительный контент (возможное DLC) и видео. Если взять в качестве примера любую королевскую битву, то вкладка может содержать больше информации о предстоящем Battle Pass, свежих обликах и другой «косметике».
Информация неофициальная, поэтому стоит подождать официальных заявлений от японского гиганта.
